- LinuxCNC
- General LinuxCNC Questions
- Joint following error right after clicking on Machine Power ON (7i97 LCNC 2.9)
Joint following error right after clicking on Machine Power ON (7i97 LCNC 2.9)
- PCW
-
- Offline
- Moderator
-
Less
More
- Posts: 17843
- Thank you received: 5221
28 Nov 2020 14:15 #190517
by PCW
Replied by PCW on topic Joint following error right after clicking on Machine Power ON (7i97 LCNC 2.9)
Is the encoder scaled properly? (you should be able to check this
with the drives disabled if you can turn the ballscrews by hand)
Did you verify the you can get +- 10V out of the 7I97?
with the drives disabled if you can turn the ballscrews by hand)
Did you verify the you can get +- 10V out of the 7I97?
Please Log in or Create an account to join the conversation.
- shadab
-
Topic Author
- Offline
- Junior Member
-
Less
More
- Posts: 39
- Thank you received: 4
28 Nov 2020 15:56 - 28 Nov 2020 16:00 #190523
by shadab
Replied by shadab on topic Joint following error right after clicking on Machine Power ON (7i97 LCNC 2.9)
Hi Peter,
I have checked the scale by rotating the ball screw by hand. I am getting the 5mm/rev as expected.
For voltage output I have following observation on the machine.
When I Plug in encoder connector and jog the axis in + direction pwmgen value is going up to 10 V (get -10 when jog in – direction). LCNC goes to following error soon .Servo goes only to around 50 RPM. I scoped the mesa analoge o/p I am not getting the expected voltage (corresponding to pwmgen value) . in scope I find only around 20 mV.
If I remove the encoder pwmgen value and mesa o/p matches exactly and servo goes to full speed.in both directions.
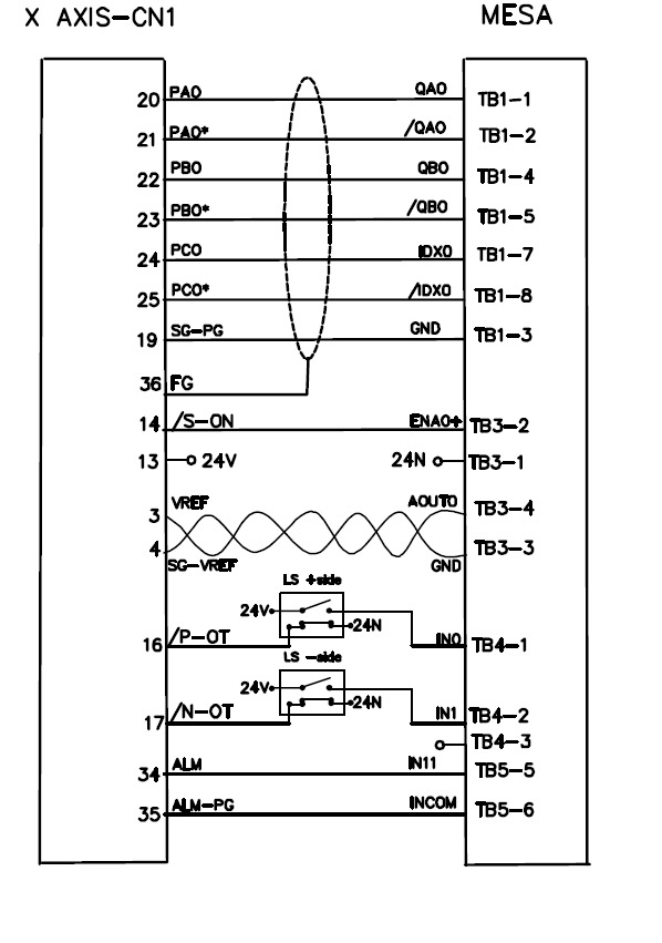
Encoder signal is coming from drive (not directly from encoder) refer below circuit.
This circuit is done as per recommendation on drive manual. +5v from 7i97 is not connected to drive . only GND is connected for reference.
We tried both differential and single ended signals .results are the same.
I have checked the scale by rotating the ball screw by hand. I am getting the 5mm/rev as expected.
For voltage output I have following observation on the machine.
When I Plug in encoder connector and jog the axis in + direction pwmgen value is going up to 10 V (get -10 when jog in – direction). LCNC goes to following error soon .Servo goes only to around 50 RPM. I scoped the mesa analoge o/p I am not getting the expected voltage (corresponding to pwmgen value) . in scope I find only around 20 mV.
If I remove the encoder pwmgen value and mesa o/p matches exactly and servo goes to full speed.in both directions.
Encoder signal is coming from drive (not directly from encoder) refer below circuit.
This circuit is done as per recommendation on drive manual. +5v from 7i97 is not connected to drive . only GND is connected for reference.
We tried both differential and single ended signals .results are the same.
Last edit: 28 Nov 2020 16:00 by shadab.
Please Log in or Create an account to join the conversation.
- shadab
-
Topic Author
- Offline
- Junior Member
-
Less
More
- Posts: 39
- Thank you received: 4
28 Nov 2020 16:06 - 28 Nov 2020 16:28 #190524
by shadab
Replied by shadab on topic Joint following error right after clicking on Machine Power ON (7i97 LCNC 2.9)
Hi again Peter!,
One very strange issue we found.
When we are plugging in the x axis encoder from the drive to the joint 0 input we get the above mentioned problems.
As a last resort we swapped the x axis encoder and y axis encoder on the mesa side. So now if we rotate the Y axis ball screw by hand X axis see the change in DRO. When we rotated the Y axis by hand, X axis immediately started to correct the change by rotating in the opposite direction. The speed at which X tries to correct is also very high.
When we swap the encoder connections back to the correct configuration (x axis to x axis drive encoder and same for y) we get the same error where pwmgen0.value is saturated to 10 but the analog output on mesa pin is a few milivolts.
One very strange issue we found.
When we are plugging in the x axis encoder from the drive to the joint 0 input we get the above mentioned problems.
As a last resort we swapped the x axis encoder and y axis encoder on the mesa side. So now if we rotate the Y axis ball screw by hand X axis see the change in DRO. When we rotated the Y axis by hand, X axis immediately started to correct the change by rotating in the opposite direction. The speed at which X tries to correct is also very high.
When we swap the encoder connections back to the correct configuration (x axis to x axis drive encoder and same for y) we get the same error where pwmgen0.value is saturated to 10 but the analog output on mesa pin is a few milivolts.
Last edit: 28 Nov 2020 16:28 by shadab.
Please Log in or Create an account to join the conversation.
- NEMARIAZ
- Offline
- Junior Member
-
Less
More
- Posts: 28
- Thank you received: 0
28 Nov 2020 16:44 #190526
by NEMARIAZ
Replied by NEMARIAZ on topic Joint following error right after clicking on Machine Power ON (7i97 LCNC 2.9)
Is the encoder scaled properly? (you should be able to check this
with the drives disabled if you can turn the ballscrews by hand)
Yes we are getting exactly 5mm/ rev
Did you verify the you can get +- 10V out of the 7I97?
Yes its verified, if we remove X –axis encoder connection from mesa X-axis o/p goes to +-10V (PWM gen value=voltage at mesa). But if we plug in X-axis encoder we get only a very fraction of PWMgen value @ mesa O/P.( say at PWMgen=10 mesa o/p= 20 mV Only).
what can be the reason for mesa o/p not matching PWMgenvalue when feedback is present. ?I think we ruled out mesa hardware fault as o/p comes when no feedback is present
with the drives disabled if you can turn the ballscrews by hand)
Yes we are getting exactly 5mm/ rev
Did you verify the you can get +- 10V out of the 7I97?
Yes its verified, if we remove X –axis encoder connection from mesa X-axis o/p goes to +-10V (PWM gen value=voltage at mesa). But if we plug in X-axis encoder we get only a very fraction of PWMgen value @ mesa O/P.( say at PWMgen=10 mesa o/p= 20 mV Only).
what can be the reason for mesa o/p not matching PWMgenvalue when feedback is present. ?I think we ruled out mesa hardware fault as o/p comes when no feedback is present
Please Log in or Create an account to join the conversation.
- PCW
-
- Offline
- Moderator
-
Less
More
- Posts: 17843
- Thank you received: 5221
28 Nov 2020 16:45 #190528
by PCW
Replied by PCW on topic Joint following error right after clicking on Machine Power ON (7i97 LCNC 2.9)
Sounds like you have a wiring error so you have the analog output connected to the drives ground. As soon as you make the encoder ground connection to the drive, you short out the analog output.
Please Log in or Create an account to join the conversation.
- NEMARIAZ
- Offline
- Junior Member
-
Less
More
- Posts: 28
- Thank you received: 0
28 Nov 2020 17:14 #190531
by NEMARIAZ
Replied by NEMARIAZ on topic Joint following error right after clicking on Machine Power ON (7i97 LCNC 2.9)
May be .When I connect Y axis encoder to mesa x-axis , it works, and motor runs at max speed. Very strange.
One question
Is there any further processing of PWMgenvalue before dumped being to mesa write function?.
One question
Is there any further processing of PWMgenvalue before dumped being to mesa write function?.
Please Log in or Create an account to join the conversation.
- PCW
-
- Offline
- Moderator
-
Less
More
- Posts: 17843
- Thank you received: 5221
28 Nov 2020 17:24 #190532
by PCW
Replied by PCW on topic Joint following error right after clicking on Machine Power ON (7i97 LCNC 2.9)
No, other than being scaled and offset by the appropriate hal pinsIs there any further processing of PWMgenvalue before dumped being to mesa write function?.
Please Log in or Create an account to join the conversation.
- NEMARIAZ
- Offline
- Junior Member
-
Less
More
- Posts: 28
- Thank you received: 0
30 Nov 2020 16:43 #190687
by NEMARIAZ
Replied by NEMARIAZ on topic Joint following error right after clicking on Machine Power ON (7i97 LCNC 2.9)
Hi,
guess you were right . I removed the encoder GND , and voltage started rising and X-axis started responding as expected. Now X-axis is hunting a little bit upon power on . holds position at a voltage of ~0.23V. I think it can be corrected in servo.
On Y axis as soon as I switch on axis moves in + direction violently and trips with following error. I tried changing sign of encoder scale and input scale ,but results were same. (Tried all 4 combinations of signs). I swapped the analogue lines same result , but movement in opposite direction.(-).
Similar behavior in Z-axis also.
Any Idea Why this is happening?
Thanks
guess you were right . I removed the encoder GND , and voltage started rising and X-axis started responding as expected. Now X-axis is hunting a little bit upon power on . holds position at a voltage of ~0.23V. I think it can be corrected in servo.
On Y axis as soon as I switch on axis moves in + direction violently and trips with following error. I tried changing sign of encoder scale and input scale ,but results were same. (Tried all 4 combinations of signs). I swapped the analogue lines same result , but movement in opposite direction.(-).
Similar behavior in Z-axis also.
Any Idea Why this is happening?
Thanks
Please Log in or Create an account to join the conversation.
- PCW
-
- Offline
- Moderator
-
Less
More
- Posts: 17843
- Thank you received: 5221
30 Nov 2020 17:03 #190688
by PCW
Replied by PCW on topic Joint following error right after clicking on Machine Power ON (7i97 LCNC 2.9)
I think you have the drives miswired somehow.
If removing the encoder ground allows better operation
you must have the analog output connected to drive ground
This must be fixed before proceeding
If removing the encoder ground allows better operation
you must have the analog output connected to drive ground
This must be fixed before proceeding
Please Log in or Create an account to join the conversation.
- NEMARIAZ
- Offline
- Junior Member
-
Less
More
- Posts: 28
- Thank you received: 0
30 Nov 2020 19:44 #190700
by NEMARIAZ
Replied by NEMARIAZ on topic Joint following error right after clicking on Machine Power ON (7i97 LCNC 2.9)
What you think about isolating encoder input using an opto isolator. ?.
The problem with Y axis looks like software settings. If I set p term to 0.001. then above issue happens in slow motion. F error increases gradually and PWM GEN VALUE builds in opposite direction.
The problem with Y axis looks like software settings. If I set p term to 0.001. then above issue happens in slow motion. F error increases gradually and PWM GEN VALUE builds in opposite direction.
Please Log in or Create an account to join the conversation.
- LinuxCNC
- General LinuxCNC Questions
- Joint following error right after clicking on Machine Power ON (7i97 LCNC 2.9)
Time to create page: 0.115 seconds